Hiện nay có rất nhiều nhà sản xuất bulong đai ốc trên toàn thế giới đi kèm là những tiêu chuẩn riêng. Sau đây là các bảng tra cứu bulong đai ốc tiêu chuẩn theo kích thước.
Các tiêu chuẩn sản xuất bu lông ốc vít hiện nay có thể kể đến như DIN (Đức), JIS (của Nhật Bản), ISO (của quốc tế), ASTM/ANSI (của Mỹ), GOST (của Nga), TCVN (của Việt Nam).
Bạn có thể click vào bài viết: Bulong là gì để tìm hiểu các thông tin về bulong như khối lượng, cường độ bulong.
Dưới đây là chi tiết một số bảng tra cứu bu lông đai ốc tiêu chuẩn:
1. Bảng tra cứu bu lông đai ốc theo tiêu chuẩn DIN 933

|
d |
M5 |
M6 |
M8 |
M10 |
M12 |
M14 |
|
|
|
P |
0.8 |
1 |
1.25 |
1.5 |
1.75 |
2 |
|
|
|
K |
3.5 |
4 |
5.3 |
6.4 |
7.5 |
8.8 |
|
|
|
e |
A |
8.79 |
11.05 |
14.38 |
18.9 |
21.1 |
24.49 |
|
|
B |
8.63 |
10.89 |
14.2 |
18.72 |
20.88 |
23.91 |
|
|
|
s |
8 |
10 |
13 |
17 |
19 |
22 |
|
|
|
L |
8 - 40 |
8 - 50 |
12 - 60 |
16 - 60 |
20 - 80 |
25 - 80 |
|
|
|
|
|
|||||||
|
d |
M16 |
M18 |
M20 |
M22 |
M24 |
M27 |
M30 |
|
|
M |
2 |
2.5 |
2.5 |
2.5 |
3 |
3 |
3.5 |
|
|
K |
10 |
11.5 |
12.5 |
14 |
15 |
17 |
18.7 |
|
|
e |
A |
26.75 |
30.14 |
33.53 |
35.72 |
35.98 |
45.2 |
50.85 |
|
B |
26.17 |
29.56 |
32.95 |
35.03 |
38.55 |
45.2 |
50.85 |
|
|
s |
24 |
27 |
30 |
32 |
36 |
41 |
46 |
|
|
L |
30 - 100 |
30 - 100 |
40 – 100 |
50 – 100 |
50 – 100 |
60 – 100 |
70 – 100 |
|
2. Bảng tra cứu bu lông đai ốc theo tiêu chuẩn DIN 931


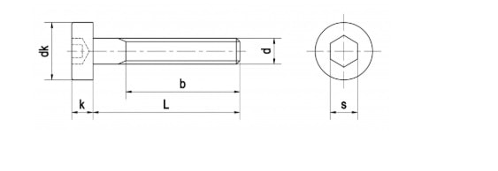
3. Bảng tra cứu bulong lục giác đầu trụ chìm theo tiêu chuẩn DIN 912


4. Bảng tra cứu bu lông lục giác đầu cầu chìm theo tiêu chuẩn DIN 7380


5. Bảng tra Bulong lục giác chìm đầu theo tiêu chuẩn DIN 7991


6. Bảng tra đai ốc theo tiêu chuẩn DIN 934

Trên đây là một số bảng tra cứu bu lông đai ốc theo tiêu chuẩn DIN của Đức. Nếu như bạn có nhu cầu mua bulong, đai ốc giá rẻ tại Hà Nội vui lòng liên hệ với chúng tôi. Thông tin chi tiết vui lòng liên hệ với Kim khí HPT theo hotline 0974 82 56 58
Oberieral
25/08/2022